旅智云Hotel Pms中英文版
- 功能介绍
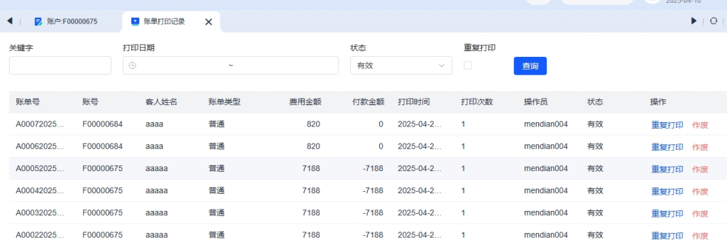
账单打印记录功能用于管理酒店所有账单的打印历史记录,支持查询、查看和操作已打印账单,包括重复打印和作废处理。 - 操作路径
账务管理 → 账单打印记录 - 查询功能
3.1 关键字查询
账单号查询 :输入完整或部分账单号进行精确或模糊查询
账号查询 :输入客人账号查询相关账单
客人姓名查询 :输入客人姓名关键字进行模糊查询
3.2 高级查询
打印日期范围 :选择开始和结束日期查询该时间段内的打印记录
状态查询 :筛选”正常”或”已作废”状态的打印记录
重复打印查询 :筛选已被重复打印的账单记录 - 列表显示
账单打印记录列表显示以下信息:

账单号
账号
客人姓名
打印时间
打印操作员
打印次数
账单状态(正常/已作废)
操作按钮(重复打印/作废)
- 操作功能
5.1 重复打印
在打印记录列表中找到需要重复打印的账单
点击【重复打印】按钮
自动将打印次数+1
生成新的打印记录
5.2 作废打印记录
在打印记录列表中找到需要作废的账单
点击【作废】按钮
系统标记该打印记录状态为”已作废” - 注意事项
重复打印不会修改原始账单内容,仅增加打印次数
作废操作不会删除原始账单,仅标记打印记录状态
已作废的打印记录不可恢复
重复打印和作废操作均会记录操作日志 - 常见问题解答
Q1: 作废打印记录会影响原始账单吗? A1: 不会,作废操作仅标记打印记录状态,不影响原始账单数据和后续操作。
Q2: 打印次数有上限吗? A2: 系统不限制打印次数,但建议控制重复打印次数以避免浪费。