1. 系统概述
酒店挂账管理系统是酒店管理系统的核心模块之一,用于管理在住宾客的账务信息,包括费用入账、付款记录、结账处理等功能。该系统提供直观的界面,帮助前台人员高效处理宾客账务,确保账务清晰、准确,提升宾客入住体验和酒店运营效率。
2. 系统入口
账务管理 → 挂账管理

3. 界面布局
挂账管理系统界面分为两个主要区域:
- 左侧:宾客选择区域
- 右侧:账务信息区域
4. 宾客选择区域(左侧)
4.1 宾客列表
- 左侧区域显示当前所有在住宾客信息
- 每个宾客项显示以下信息:
- 房号
- 客人姓名
- 账户余额状态(负数金额显示黄色)
- 宾客列表支持以下筛选功能:
- 房号筛选:输入房号关键字进行筛选
- 姓名筛选:输入客人姓名关键字进行筛选
- 今日预计离店:快速筛选今日预计离店的宾客
5. 账务信息区域(右侧)

5.1 账务汇总信息
选择左侧宾客后,右侧顶部显示该宾客的账务汇总信息:
- 费用合计:所有消费金额的总和
- 付款合计:所有付款金额的总和
- 账户余额:付款合计减去费用合计的差额
- 余额为负数(欠费)时,显示为黄色
5.2 操作按钮区域
根据宾客状态和账务情况,显示以下操作按钮:
- 订金按钮 :宾客为预订状态时显示,用于录入宾客订金付款金额 
- 点击后弹出订金录入界面
- 系统会自动计算订金金额
- 选择付款方式
- 提交后自动更新账户余额
- 押金按钮 :宾客为入住状态时显示,用于录入宾客押金付款金额 
- 点击后弹出押金录入界面
- 选择付款方式并输入金额
- 提交后自动更新账户余额
- 入账按钮 :打开入账界面,支持费用科目和付款科目入账 
- 支持同时录入多个账务项
- 费用入账:选择费用科目,输入金额和备注
- 付款入账:选择付款方式,输入金额和备注
- 提交后自动更新账户余额
- 部分结账按钮 :选择未结账数据进行结账处理 
- 选择需要结账的账务项
- 系统自动计算结算金额
- 选择结账方式并完成结账
- 退房结账按钮 :处理宾客退房结账   
- 如果宾客离期不等于营业日期,弹出提前退房结账提示
- 系统自动检查未入账房费
- 如存在未入账房费,提示加收
- 自动计算总结账金额
- 选择结账方式并完成退房结账
- 转账按钮 :将选择的未结账务转出到目的账户 
- 选择需要转出的账务项
- 选择目标账户
- 确认后完成转账操作
- 商品按钮 :选择宾客购买商品并入账 
- 选择商品类别和具体商品
- 输入数量和备注
- 选择是否直接结账
- 提交后自动更新账户余额
- 打印账单按钮 :根据酒店配置的账单模板打印客人账单 
- 选择打印模板
- 选择打印内容(全部/未结/已结)
- 预览并打印账单
- 日志按钮 :显示当前宾客的所有操作日志 
- 显示操作时间、操作类型、操作人和操作内容
- 支持按日期范围筛选
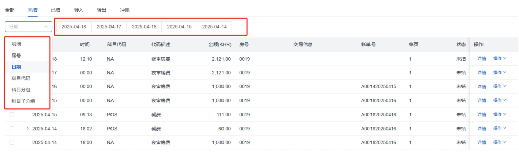
5.3 账务分类标签
账务信息区域提供以下分类标签,用于筛选不同类型的账务:

- 全部 :显示所有已结和未结账务
- 未结 :显示所有未结账务
- 已结 :显示所有已结账务
- 转入 :显示所有转入到当前账户的账务
- 转出 :显示当前账户所有转出的账务
- 冲账 :显示当前账户所有冲账的账务
5.4 账务分组选项
账务信息区域提供以下分组选项,用于不同维度查看账务:

- 明细 :根据账务账页分组,默认1,最大5
- 房号 :根据账务入账房号分组
- 日期 :根据账务入账时营业日分组
- 科目代码 :根据入账科目分组
- 科目分组 :根据入账科目分组分组
- 科目子分组 :根据入账科目子分组分组
5.5 账务列表
账务列表显示所选宾客的账务详细信息,包括:

- 入账日期
- 科目名称
- 科目代码
- 金额
- 状态(未结/已结)
- 备注
- 操作人 账务列表支持多选操作,可同时选择多个账务项进行批量操作。
5.6 账务操作菜单
在账务列表中,右键点击账务项或点击操作图标,可显示以下操作菜单:
- 详情 :显示当前账务入账详情 
- 显示完整的账务信息
- 费用类科目包含税费拆分显示
- 拆账 :对账务进行百分比或固定金额拆分 
- 选择拆分方式(百分比/固定金额)
- 输入拆分值
- 确认后生成新的账务项
- 冲账 :对当前账务进行冲账操作 
- 系统自动生成相反金额的账务
- 输入冲账原因
- 确认后完成冲账
- 转账 :将当前账务转入目的账户 
- 选择目标账户
- 确认后完成转账
- 子项 :查看账务包内入账子项 
- 显示组合科目的所有子项明细
- 查看子项详细信息
6. 入账功能
6.1 费用入账
- 点击【入账】按钮,选择【费用入账】标签
- 选择费用科目:
- 从科目列表中选择需要入账的费用科目
- 常用科目显示在顶部
- 输入金额:
- 直接输入金额
- 系统自动计算含税金额(如适用)
- 输入备注信息(可选)
- 点击【确认】按钮完成入账
- 系统自动更新账户余额和账务列表
6.2 付款入账
- 点击【入账】按钮,选择【付款入账】标签
- 选择付款方式:
- 现金
- 信用卡
- 银行转账
- 微信支付
- 支付宝
- 其他电子支付方式
- 输入金额:
- 直接输入金额
- 如选择外币,可进行外币转换
- 输入备注信息(可选)
- 点击【确认】按钮完成入账
- 系统自动更新账户余额和账务列表
7. 结账功能
7.1 部分结账
- 在账务列表中,选择需要结账的账务项(可多选)
- 点击【部分结账】按钮
- 系统自动计算所选账务的结账金额
- 选择结账方式:
- 现金
- 信用卡
- 银行转账
- 微信支付
- 支付宝
- 其他电子支付方式
- 可选择多种结账方式组合支付
- 输入各种方式的支付金额
- 点击【确认】按钮完成结账
- 系统自动更新账务状态和账户余额
7.2 退房结账
- 点击【退房结账】按钮
- 系统自动检查是否存在未入账房费
- 如存在,提示加收未入账房费
- 显示加收房费界面,确认后继续
- 系统自动计算总结账金额
- 选择结账方式:
- 现金
- 信用卡
- 银行转账
- 微信支付
- 支付宝
- 其他电子支付方式
- 可选择多种结账方式组合支付
- 输入各种方式的支付金额
- 点击【确认】按钮完成退房结账
- 系统自动更新账务状态和账户余额
- 完成退房流程
8. 转账功能
8.1 账务转出
- 在账务列表中,选择需要转出的账务项(可多选)
- 点击【转账】按钮或右键菜单中的【转账】选项
- 在弹出的转账界面中,选择目标账户:
- 输入房号或客人姓名搜索
- 从列表中选择目标账户
- 确认转账信息
- 点击【确认】按钮完成转账
- 系统自动更新源账户和目标账户的余额和账务列表
8.2 转入账务管理
- 点击【转入】标签查看所有转入的账务
- 显示转入账务的详细信息:
- 转入时间
- 来源账户
- 科目名称
- 金额
- 操作人
- 可查看转入账务的详细信息
- 转入账务不可再次转出或冲账
9. 实际应用示例
9.1 客人入住收取押金
场景描述: 客人入住酒店,需要收取押金1000元。
操作步骤:
- 在左侧宾客列表中,找到并选择该客人
- 点击右侧【押金】按钮
- 在弹出的押金录入界面中:
- 选择付款方式:现金
- 输入金额:1000
- 备注:入住押金
- 点击【确认】按钮
- 系统自动更新账户余额,显示预付1000元
9.2 客人消费入账
场景描述: 客人在餐厅消费300元,需要挂账到房间。
操作步骤:
- 在左侧宾客列表中,找到并选择该客人
- 点击右侧【入账】按钮
- 在弹出的入账界面中,选择【费用入账】标签
- 选择费用科目:餐饮
- 输入金额:300
- 备注:早餐消费
- 点击【确认】按钮
- 系统自动更新账户余额和账务列表
9.3 部分结账处理
场景描述: 客人想单独结算餐饮消费。
操作步骤:
- 在左侧宾客列表中,找到并选择该客人
- 在右侧账务列表中,找到并选择餐饮消费账务项
- 点击【部分结账】按钮
- 在弹出的结账界面中:
- 确认结账金额:300
- 选择结账方式:微信支付
- 输入金额:300
- 点击【确认】按钮
- 系统自动更新账务状态和账户余额
9.4 退房结账处理
场景描述: 客人退房,需要结清所有账务。
操作步骤:
- 在左侧宾客列表中,找到并选择该客人
- 点击【退房结账】按钮
- 系统检查未入账房费,如有,确认加收
- 在弹出的结账界面中:
- 确认总结账金额
- 计算需要补缴或退还的金额
- 选择结账方式
- 点击【确认】按钮
- 系统完成结账并更新账务状态
- 完成退房流程
10. 注意事项
- 账务操作会实时更新账户余额,请确保操作准确
- 结账前请核对账务信息,确保金额正确
- 转账操作不可撤销,请谨慎选择目标账户
- 冲账会生成相反金额的账务,影响账户余额
- 退房结账前,系统会自动检查未入账房费,请确认是否需要加收
- 账务操作会记录操作人信息,便于追踪责任
11. 常见问题解答
Q1: 如何查看客人的历史账务记录? A1: 在左侧宾客列表中选择客人后,右侧账务列表默认显示所有账务。点击【全部】标签可查看所有历史账务记录。
Q2: 如何处理客人多付款的情况? A2: 退房结账时,系统会自动计算多付款金额-负数显示。选择入账科目并确认即可。
Q3: 如何将一个房间的账务转到另一个房间? A3: 在账务列表中选择需要转出的账务项,点击【转账】按钮,选择目标房间账户,确认后完成转账。
Q4: 如何修改已入账的错误账务? A4: 对于未结账的账务,可以使用冲账功能。右键点击错误账务,选择【冲账】,系统会生成相反金额的账务,然后重新正确入账。
Q5: 如何查看特定日期范围内的账务? A5: 在账务列表上方的筛选区域,选择日期,选项账务发生日期进行筛选操作。