旅智云Hotel Pms中英文版
1. 系统概述
订单列表是酒店管理系统的核心功能模块,用于管理所有客户预订信息,包括个人预订和团队预订。该功能提供强大的查询筛选能力,支持订单创建、编辑、分房和账务管理等操作,帮助前台人员高效处理客户预订业务,提升服务质量和工作效率。
2. 系统入口
预订中心 → 订单列表

3. 查询功能
3.1 关键字查询
在顶部查询区域,可输入以下关键字进行查询:
- 订房人 :输入订房人姓名关键字,进行模糊匹配
- 电话 :输入订房人电话号码关键字,进行模糊匹配
- 订单号 :输入订单编号关键字,进行精确或模糊匹配
3.2 状态查询
在顶部查询区域,可通过下拉菜单选择以下订单状态进行查询:
- 预订 :显示所有已确认但尚未入住的预订订单
- 在店 :显示所有当前已入住的订单
- 已离 :显示所有已完成并离店的订单
- 取消 :显示所有已取消的订单
- 未到 :显示所有预计到达日已过但未实际到店的订单
3.3 入住日期查询
在顶部查询区域,可设置入住日期范围进行查询:
- 开始日期 :选择入住日期范围的起始日期
- 结束日期 :选择入住日期范围的结束日期
- 系统将显示入住日期在所选范围内的所有订单
3.4 渠道查询
在顶部查询区域,可通过下拉菜单选择预订渠道进行查询:
- 前台 :显示通过酒店前台创建的订单
- 电话 :显示通过电话预订的订单
- 官网 :显示通过酒店官网预订的订单
- OTA :显示通过在线旅行平台预订的订单(如携程、飞猪等)
- 旅行社 :显示通过旅行社预订的订单
- 协议单位 :显示通过协议单位预订的订单
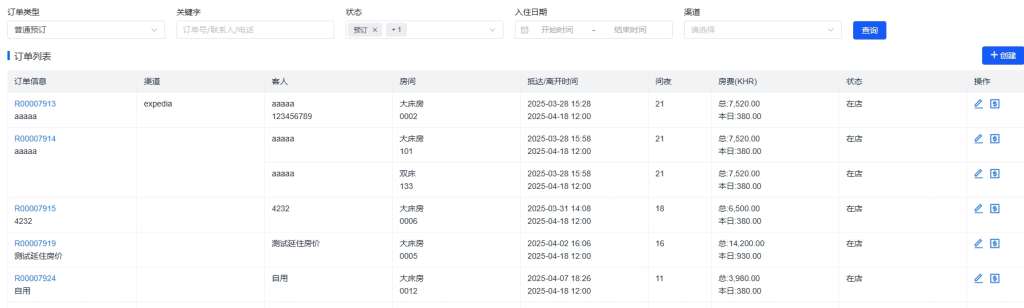
4. 列表显示
4.1 订单分组
订单列表按照订单号进行分组展示:

- 每个订单组显示订单基本信息:
- 订单号(点击跳转订单详情)
- 订房人姓名
- 预订渠道
- 渠道订单号
- 每个订单组下可展开显示该订单包含的所有预订明细:
- 房型
- 房号/房数(存在房号显示房号,不存在房号显示房数)
- 入住日期
- 离店日期
- 间夜
- 总房价/本日房价
- 入住状态
- 操作,编辑:跳转到账户详情 , 财务:跳转到账务管理界面
4.2 列表排序
- 订单状态排序: 在住,预订,离店,取消,未到
- 入住日期 :按预计入住日期排序
5. 操作功能
5.1 创建订单
用于创建新的预订订单:
- 点击【创建】按钮

- 系统跳转至订单创建界面

- 选择订单类型(普通订单或团队订单)
- 填写订单信息
- 追加预订信息


- 点击【提交】按钮完成创建

5.2 查看订单详情
用于查看和编辑订单详细信息:

- 在订单列表中点击订单号
- 系统跳转至订单编辑界面
- 查看或编辑订单详细信息

5.3 编辑账户
用于编辑订单下的账户信息:
- 在订单列表中找到需要编辑的订单
- 点击该行末尾的【编辑】按钮
- 系统跳转至账户编辑界面
- 修改账户相关信息
- 点击【提交】按钮保存修改
5.4 账务管理
用于管理订单下账户的账务:
- 在订单列表中找到需要处理账务的订单
- 点击该行末尾的【账务】按钮
- 系统跳转至账务管理界面
- 进行费用入账、付款入账、结账等操作
7. 订单编辑
7.1 修改预订信息

在订单编辑界面,可修改订单基本信息:
- 修改订房人姓名、联系电话、证件信息等
- 修改渠道来源、渠道订单号等
- 修改备注信息
- 修改完成后点击【提交】按钮保存
7.2 批量入住

在订单编辑界面,可为已分房但未入住的预订办理批量入住:
- 点击【批量入住】按钮
- 系统自动选择当前营业日期
- 显示所有已分房但未入住的预订
- 可勾选或取消勾选需要入住的预订
- 点击【确认】按钮
- 系统自动为选中的预订办理入住手续
7.3 分房操作


在订单编辑界面,可为未分房的预订分配房间:
- 点击【分房】按钮
- 系统跳转至批量分房界面
- 显示订单下所有未分房的预订
- 右侧显示可用房间列表
- 选择预订和对应房间进行分配
- 点击【提交】按钮保存分房结果
7.4 账务管理


在订单编辑界面,可管理订单下各账户的账务:
- 点击【账务】按钮
- 系统跳转至账务管理界面
- 显示订单下所有账户列表
- 选择需要处理的账户
- 进行费用入账、付款入账、结账等操作
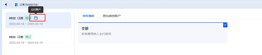
7.5 分组设置

在订单编辑界面,可进行订单分组设置:
- 点击【分组设置】按钮
- 在弹出的分组设置面板中:
- 设置主付账户:选择订单中负责结算的主要账户
- 设置转账关系模板:配置账户间的费用转账规则
- 添加其他订单宾客:将其他订单的宾客添加到当前订单
- 点击【确认】按钮保存设置



7.6 追加预订

在订单编辑界面,可为现有订单追加新的预订:
- 点击【追加预订】按钮
- 在弹出的预订信息面板中填写新预订信息
- 点击【确认】按钮添加新预订单
8. 实际应用示例
8.1 创建团队订单
场景描述: 一个20人的旅游团队预订了10间标准双人房,入住2晚。
操作步骤:
- 进入订单列表界面
- 点击【创建】按钮
- 选择订单类型为”团队订单”
- 在基本信息区域填写:
- 订房人姓名:张旅行社
- 联系电话:13800138000
- 渠道来源:旅行社
- 备注:XX旅游团20人团队
- 点击【追加预订】按钮
- 在预订信息面板中填写:
- 入住日期:2023-05-01
- 离店日期:2023-05-03
- 物理房型:标准双人房
- 房数:10
- 付费房型:标准双人房
- 房价计划:团队价
- 成人数:20
- 儿童数:0
- 点击【确认】按钮
- 点击【提交】按钮
- 在批量保存界面确认信息无误
- 点击【确认】按钮完成订单创建
8.2 为团队订单分房
场景描述: 为已创建的团队订单分配房间。
操作步骤:
- 在订单列表中找到团队订单
- 点击订单号进入订单编辑界面
- 点击【分房】按钮
- 在批量分房界面:
- 左侧显示10个未分房的预订
- 右侧显示可用的标准双人房
- 点击【自动分房】按钮,系统自动分配房间
- 检查分房结果,如需调整可手动修改
- 点击【提交】按钮保存分房结果
- 返回订单编辑界面,可看到房号已分配
8.3 团队批量入住
场景描述: 团队到达酒店,需要办理批量入住。
操作步骤:
- 在订单列表中找到团队订单
- 点击订单号进入订单编辑界面
- 点击【批量入住】按钮
- 系统显示所有已分房的预订(10间房)
- 确认需要入住的预订都已勾选
- 点击【确认】按钮
- 系统自动为所有选中的预订办理入住手续
- 订单状态更新为”在店”
8.4 设置团队主付账户
场景描述: 团队所有费用由领队统一结算,需要设置主付账户。
操作步骤:
- 在订单列表中找到团队订单
- 点击订单号进入订单编辑界面
- 点击【分组设置】按钮
- 在分组设置面板中:
- 选择领队所在房间作为主付账户
- 设置转账关系模板为”全部转入主账户”
- 点击【确认】按钮保存设置
- 系统自动配置账户间的转账关系
9. 注意事项
- 订房人姓名为必填项,确保准确录入
- 创建订单时可添加多个不同房型、不同日期的预订
- 团队订单建议使用批量操作功能(分房、入住)提高效率
- 订单信息修改后必须点击【提交】按钮才能保存更改
- 批量入住功能仅适用于已分房但未入住的预订
- 设置主付账户后,其他账户的费用会按照转账关系自动转入主账户
10. 常见问题解答
Q1: 如何查找特定日期的订单? A1: 在顶部查询区域设置入住日期范围,然后点击【查询】按钮。
Q2: 如何为已创建的订单添加新的预订? A2: 进入订单编辑界面,点击【追加预订】按钮,填写新预订信息并确认。
Q3: 如何取消订单中的某个预订? A3: 进入订单编辑界面,找到需要取消的预订,点击【编辑】按钮,去预订详情取消预订。
Q4: 如何修改已分配的房间? A4: 进入订单编辑界面,选择要修改的预订,点击【编辑】按钮,修改预订房号。